Темежников Евгений Александрович
В С Австрии 1930-1938

Самиздат: [Регистрация] [Найти] [Рейтинги] [Обсуждения] [Новинки] [Обзоры] [Помощь|Техвопросы]
Ссылки:
Школа кожевенного мастерства: сумки, ремни своими руками Типография Новый формат: Издать свою книгу
 Ваша оценка:

ВООРУЖЕННЫЕ СИЛЫ АВСТРИИ 1930-1938



Вооруженные силы стран мира: Общее оглавление
Вооруженные силы Австрии: 1920-1929
Сокращения и обозначения

    АВСТРИЯ (Австрийская Республика)
Президент: Вильгельм Миклас (1928-1938), Артур Зейсс-Инкварт (1938)
 []  []

Население: 6,7 млн.ч (1930г); 6,7 млн.ч (1935г) [НЕ]

  АРМИЯ в 1932 г. [СВЭ-1932]
  Вооруженные силы по Сен-Жерменскому договору составляют: армия - 30.000, полиция - 17.500, пограничная стража - 9000, жандармерия, финансовая и лесная стража - 5500, всего оклдо 62.000; морского и воздушного флотов нет.
  Армия комплектуется добровольцами в возрасте от 19 до 26 лет сроком на 12 лет (6 лет действительной службы) по территориальной системе. Каждый территориальный округ формирует бригаду. Всего в 6 бригадах и 1 арт. полку -34 пехотных, 6 самокатных, 6 технических батальонов, 6 эскадронов кавалерии, 14 полевых и горных, 12 тяжелых и 6 минометных батарей.
  Подготовка солдат ведется довольно тщательно. Помимо военного обучения она включает также общеобразовательные предметы и обучение ремеслу или профессии.
  Кроме регулярной армии в Австрии существуют фашистские организации военного типа - Хеймвер.

  АРМИЯ в 1930-е годы [w]
  В 1933 году был сформирован гвардейский батальон.
 К 1 июня 1935 года бригады были преобразованы в дивизии численностью около 12.000 человек каждая.
  Только 8-я бригада, сформированная в начале 1935 года, сохранилась в прежнем виде и насчитывала 6769 человек (по состоянию на март 1938 года).
  Из танковых и кавалерийских подразделений прежних бригад была сформирована Schnelle Division (по состоянию на март 1938 года). Помимо автомобилей, она располагала итальянскими танкетками типа L3/33.
  К 1 февраля 1936 года была сформирована 7-я дивизия.
  В марте 1938 года численность сухопутных войск Австрии составляла около 60.000 человек, а мобилизационный резерв - примерно 127 000 человек.
  Кроме того, должны были быть мобилизованы ещё восемь милиционных бригад с 18 полками и в общей сложности 104 батальона пехоты, а также милиционная кавалерийская эскадрилья, одиннадцать милиционных батарей с 44 старыми орудиями, милиционный автотранспортный корпус, подразделения противовоздушной обороны и рабочие дружины для защиты промышленных объектов.
  Общая численность этих так называемых Frontmiliz ополченцев составляла более 100.000 человек, однако их вооружение было безнадежно устаревшим, противотанковых орудий не было, а винтовки имелись лишь у половины ополченцев. Запас боеприпасов составлял менее 40 выстрелов на винтовку, кроме того, боеприпасы не были совместимы с боеприпасами Бундесвера.
  Пехотные полки состояли из штабной роты, тяжёлой роты и трёх батальонов по четыре роты в каждом. Полевые егеря были разведчиками, а моторизованные егеря - моторизованной пехотой. Телеграфные и сапёрные батальоны дивизий были частично моторизованными.
  Отряды пехотных пушек представляли собой моторизованные противотанковые подразделения, частично оснащённые моторными повозками ADMK в качестве тягачей. Лёгкие артиллерийские полки в основном были конными (только N 9 был полностью моторизованным) и состояли из следующих подразделений:
  - средний артиллерийский дивизион с двумя батареями полевых орудий и одной батареей лёгких полевых гаубиц
  - моторизованный артиллерийский дивизион с тремя батареями лёгких полевых гаубиц (вместо этого в Зальцбургском лёгком артиллерийском полку N 8 была пехотная артиллерийская рота)
  - горно-артиллерийский дивизон (в некоторых дивизиях моторизованный) с двумя батареями 7,5-cm горных орудий и одной батареей 10-cm горных гаубиц.
  По ссылке] приводится состав подразделения на момент создания или преобразования в дивизию (изменения до 1938 года указаны в конце, места дислокации - насколько известно - в скобках):

  Организация армии Австрии в 1938 г.
7 пехотных дивизий: 1.ID, 2.ID, 3.ID, 4.ID, 5.ID, 6.ID, 7.ID
1 пехотная бригада: 1.IBr
1 мобильная дивизия: Shnelle Div


  ВООРУЖЕНИЕ
  Бронетехника
Танкетка L3/33:1935 (2,7т 3х1,4х1,2м пд:43лс=42км/ч 2ч бр: 6-12 1п) Имп: 72. Мод: C.V.33: 36, C.V.35: 36
 []

Бронеавтомобиль ADGZ:1935-1937 (12т 6,3х2,2х2,6м пд:150лс=70км/ч 6ч бр: 6-14 1п20+1п) Вып: 12
 []  []


  Артиллерийские орудия
Тяжелая полевая гаубица 15cm sFH M15 (149мм/20 5560кг сн:41кг 11,5км)
Тяжелая полевая гаубица 15cm sFH M14 (149мм/14 2765кг сн:41кг 9км)
0x01 graphicM15 0x01 graphicM14

Тяжелая полевая пушка 10.4cm Feldkanone M15 (104мм/35 3030кг сн:16кг 13км)
0x01 graphic

Легкая полевая гаубица 10cm FH M14/37
Легкая полевая гаубица 10cm FH M14 (100мм/19 1350кг сн:14кг 8км)
0x01 graphicM14

Полевая пушка 8cm FK M18 (76,5мм/30 1478кг сн:8кг 12км)
Полевая пушка 8cm FK M17 (76,5мм/30 1319кг сн:8кг 11км)
0x01 graphicM18 0x01 graphicM17

Горная гаубица 10cm GebH M16:1916 (100мм/19 1235кг сн:16кг 8,5км)
0x01 graphicGebH M16

Горная пушка 7.5cm GebG M15:1915 (75мм/15 613кг сн:6,4кг 8км)
0x01 graphic

Противотанковая пушка 4,7cm Bohler M35/36:1935-1938 (47мм/36 0,3т сн:1,6кг) Вып: 357
 []

Зенитная пушка 40мм Bofors L60:1934- (40мм/60 2т сн:0,9кг 7км)
0x01 graphic

Миномет 8cm GrWr34 (81мм 62кг сн:3,4 кг 1,9км)

  Стрелковое оружие
Станковый пулемет Schwarzlose MG M.07 (8мм 41кг) Мод: M.07, M.07/12, M.07/12/16
0x01 graphicM.07 0x01 graphicM.07/12 0x01 graphicM.07/12

Ручной пулемет 8мм MG 30:1930 (8мм 117см 12кг)
 []

Магазинные винтовки Mannlicher M1895 (8мм 127см 3,8кг 5патр); Mannlicher M1890 Carbine (8мм 100см 3,3кг 5патр)
0x01 graphicM1895 0x01 graphicM1890C

Пистолет-пулемет MP34:1930 (9мм/ 4кг сн:кг )
 []

Пистолеты: Frommer Stop 12M/19M (7,65мм 0,6кг 7патр), Steyr M1912 (9мм 1,2кг 8патр). Roth-Steyr M1907 (8мм 1кг 10патр)
0x01 graphicFS 12M 0x01 graphicS M1912 0x01 graphic R-S M1907

Пистолеты Mannlicher M1905 (7,63мм 0,9кг 8патр); Mannlicher M1901 (7,63мм 8патр) Mannlicher M1901 (7,63мм 8патр)
0x01 graphicM1905 0x01 graphicM1901



  АВИАЦИЯ [w]
 В 1928 году Бундесхеер (федеральная армия) начала тайно обучать пилотов. Впоследствии была создана техническая инфраструктура и заказаны самолёты в Италии. В августе 1933 года были поставлены первые военные самолёты, заказанные республикой (пять бипланов Fiat CR.20). Бундесхеер начал тайно оснащать лётные клубы в Вене-Асперне и Граце-Талерхофе самолётами итальянского производства (Fiat Ansaldo и Caproni).
  В 1936 году бортинженер Рознер с базы Грац-Талерхоф выиграл конкурс на создание новой национальной эмблемы, которая была утверждена в том же году. Белый равносторонний треугольник с направленным вниз остриём в красном круге был совершенно новым элементом и не имел (кроме флага и гербов) никаких предшественников.
  Казармы для лётчиков в Асперне были единственными новыми казармами, построенными в Вене в период между войнами. Австрийское правительство планировало создать авиабазу в Тульнской котловине, однако этот план был реализован только немецкими вооружёнными силами (в настоящее время: авиабаза Брумовски, недалеко от Лангенлеберна). Форма была далека от всех традиций и соответствовала международному образцу: серый китель с четырьмя пуговицами и эмблемой в виде коромысла на груди, а также мягкие фуражки, больше напоминающие британские модели.
  В 1934 году было создано 2 авиационных полка. К марту 1938 г. в них было 2 бомбардировосные, 6 истребительных, 2 разведывательные и 3 учебные эскадрильи.

  Организация ВВС Австрии в 1938 г.

  САМОЛЕТЫ
Бомбардировщик/транспортный Ju.52/3m-g3e[a]:1936 (11т 19х29м 3пд830лс=285км/ч 3+18ч 4п 0,5тб) Имп: 4
 []

Бомбардировщик Ju.86K-4[a]:1936-1937 (8,5т 17,9х22,6м 2пд875лс=430км/ч 830/6,5км 4ч 3п 1тб) Имп: 1
 []

Бомбардировщик/транспортный Ca.133[a]:1935 (6,6т 15,4х21,5м 3пд460лс=280км/ч 1350/6,5км 3-4ч 4п 1тб) имп: 5
 []  []
 []

Бомбардировщик Fw 58[a]:1934 (3,6т 14х21м 1пд240лс=270км/ч 610/5,4км 3ч 1п)
 []


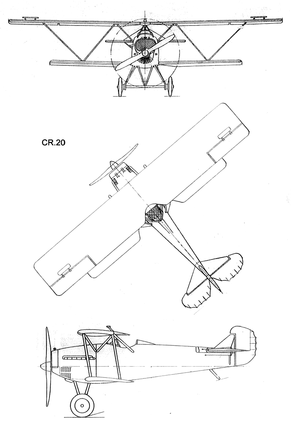
Истребитель CR.20[a]:1931-1932 (1,4т 6,7х9,8м 1пд410лс=276км/ч /8,5км 1ч 2п)
    Имп: 36. Мод: CR.20bis: 16, CR.20AQ, CR.20B: 4
 []  []

Разведчик A.120[a]:1928 (1,4т 8,6х12,8м 1пд550лс=254км/ч /7км 2ч 2\3п) Имп: 6
 []

Разведчик Ro.37[a]:1934 (2,4т 8,6х11,1м 1пд:550лс=330км/ч 1120/7,2км 2ч 3п)
 []




  ХРОНИКА СОБЫТИЙ
15.7.1927 Июльское восстание 1927 года
12-16.2.1934 Гражданская война в Австрии
25-30.7.1934 Июльский путч
12-13.3.1938 Аншлюс. Присоединение Австрии к Германии.



    ИСТОЧНИКИ
[НЕ] Численность населения в разных странах Европы с 1600 по 2023 год.
[СВЭ-1932] Советская военная энциклопедия. Том 1-2. М: 1931-1932.
[ИВМВ] История второй мировой войны 1939-1945 гг. (в 12 томах). М.: Воениздат, 1973-1982.
[nh] World War II Armed Forces.
[Жук] Жук А.Б. Стрелковое оружие. М:1992
[а] Уголок неба. Большая авиационная энциклопедия

 Ваша оценка:

Связаться с программистом сайта.

Новые книги авторов СИ, вышедшие из печати:
О.Болдырева "Крадуш. Чужие души" М.Николаев "Вторжение на Землю"

Как попасть в этoт список

Кожевенное мастерство | Сайт "Художники" | Доска об'явлений "Книги"